Home
List your patent
My account
Help
Support us
Game method and apparatus
[Category : - AMUSEMENT SPORTS]
[Viewed 4859 times]
ABSTRACT:
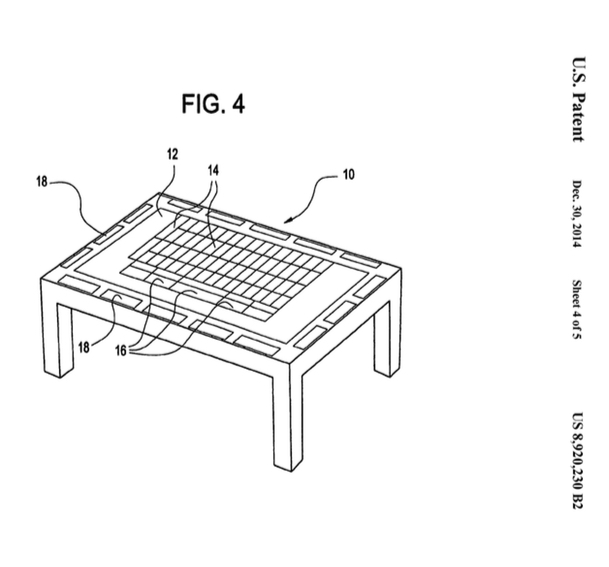
Game playing apparatus described displaying in an image-space (12) an aspect of a playing environment and overlays on the image-space zones (14,16) that have relevance to playing environment. Event/s occurs in the playing environment in a delineated zone/s. Game participant is able to mark (18) with a marker a zone or zones before the event in anticipation of a reward if they mark the zone in which the event occurs. Their reward may be set by predetermined odds or a portion of pooled wagers. The playing environment may be a live event, live sporting event, or pre-planned scenario. The image-space (12) may only be a representation of the playing environment or aspect of the playing environment. The game participant may wager remotely of game apparatus with remote control devices allowing them to mark and wager. The remote control device may be built into other devices like mobile telephones etc.
PLAINER LANGUAGE:
One embodiment of the patented Game playing method & apparatus involves displaying in an image-space or image screen an aspect of an environment such as a golf green or football field and then through technological means overlaying on the image-space zones that have relevance or add new relevance to the environment in the screen.
FOR EXAMPLE:
An Event/s occurs in the playing environment such as a tackle or a the landing of a golf ball in a delineated zone/s.
The Game player or wagerer is able to mark with a marker a zone or zones before the event in anticipation of a reward.
If they mark the zone in which the event occurs. Their reward may be set by predetermined odds or a portion of pooled wagers.
The playing environment may be a live event, live sporting event, or pre-planned scenario.
The image-space may only be a representation of the playing environment or aspect of the playing environment.
The game participant is not limited to but may wager remotely of game apparatus with remote control devices allowing them to mark and wager.
The remote wagering device or may include devices like mobile telephones etc...
BENEFITS:
Some of the Key Benefits associated with these patents is the value adding of environments such as sporting environments or even Wildlife preserves by attracting new or more involved interest in viewing that environment or an aspect of that environment when it is converted into this type of game of chance.
This type of game of chance would be popular with casinos, broadcasters, companies with entertainment property portfolios as well as sporting leagues, lottery corporations, gaming and wagering companies, and casino slot machine and electronic game machine companies.
The benefit would be that they could attract new or more involved interest from their existing clientele and/or attract a new clientele altogether.
The target market would be gamblers or people that like to play games of chance for fun or for money.
Financial informationThe price would depend on what the potential buyer and/or licensee would want to do. I have other proprietary rights for this IP that extends past just patents such as copyright and trademarks that would need to be discussed.
I also have a granted patent for New Zealand and a patent pending for Canada that cover the same IP.
Further to this I have registered with the US copyright office an entertainment property and format for forming a governing body or federation like FIFA or a Chess Federation for this type of Gaming which is called Matrix GamingTM to which I have registered a Trademark.
I have further ambitions for Matrix Gaming that go past the life of these patents and any potential buyer or licensee would be invited to take part in a dialogue with regards to that.
I would be looking for a buyer or buyers that may be interested in a holistic approach to the IP by possibly helping to set up this worldwide governing body or federation for this type of gaming.
Not only do I believe that a larger more connected organization other than just myself will be able to exploit what I have in these granted patents better than I can, but they could also profit by helping to look after the proliferation and governing of this type of game if they chose to become involved in a governing body organization.
Asking price:
Make an offer



[ Home
| List a patent
| Manage your account
| F.A.Q.|Terms of use
| Contact us]
Copyright PatentAuction.com 2004-2017
Page created at 2025-12-13 20:47:34, Patent Auction Time.