Home
List your patent
My account
Help
Support us
kitchen owen with integrated camera
[Category : - Appliances and houseware- Cooking]
[Viewed 1932 times]
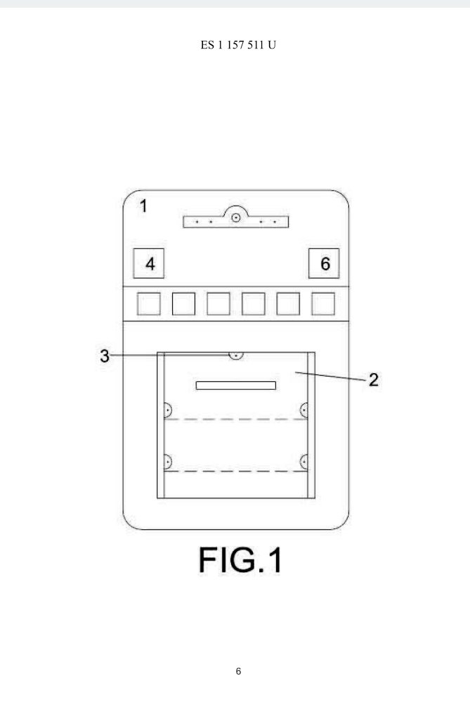
1. Oven with integrated chamber, consisting of a conventional oven (1), whether electric, induction, microwave or similar, and which is characterized by the oven has a watertight chamber where the food is placed in charge of recording images of everything that happens inside the oven where, it incorporates a connection module responsible for communicating and transmitting the images obtained from the camera to a mobile device, with wifi, blueooth, 3G, 4G, 5G technology, so on, that includes a mobile application for the visualization of the images obtained.
Asking price:
Make an offer


[ Home
| List a patent
| Manage your account
| F.A.Q.|Terms of use
| Contact us]
Copyright PatentAuction.com 2004-2017
Page created at 2025-11-01 21:02:44, Patent Auction Time.