Home
List your patent
My account
Help
Support us
Contextual Audio Recording
[Category : - DESIGN PATENTS]
[Viewed 1769 times]
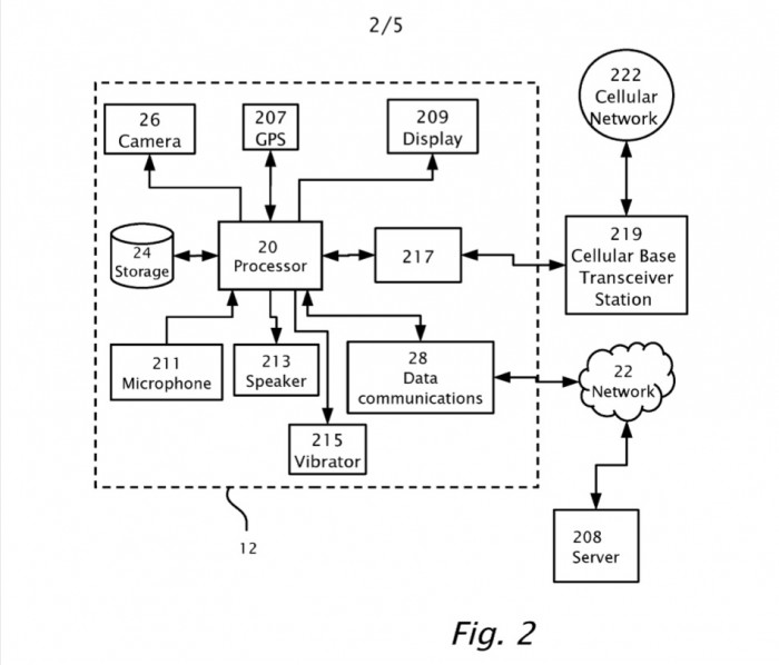
A contextual audio recording method, performable by a computer system (e.g. smartphone) attached to a network, where during a conversation over the network a microphone attachable to or included in the computer system is used to record 303 audio speech 304 from the user. The audio speech is processed 305 into audio speech data 311. In the audio speech data, the processor monitors 307 for a keyword previously defined 301 by the user. Upon detecting 309 the keyword in the audio speech data, a contextual portion of the audio speech data 315 is extracted 313 including the keyword. The contextual portion of the audio speech data may be converted 317 to text 320 and stored 319. The time interval of the contextual portion may be determined either by a pre-set duration from and including the keyword, or may stop upon detection of another keyword.
Much of our lives are spent communicating with others while at home, in the office and even while on the road. Often in the course of these communications we may wish to make a note related to the conversation such as a name, telephone number, meeting date or any number of other details. Normally this action would require removing the phone from ones ear, opening a new application and manually typing the information. However this may not be practical or even possible all the time. To open a new application to manually enter the note while driving is dangerous. When communicating with someone in public putting them on speaker is impractical. There are many scenarios when being able to use contextual audio recording would be useful if not essential.
Financial informationLooking for outright sale of patent
Asking price:
Make an offer





[ Home
| List a patent
| Manage your account
| F.A.Q.|Terms of use
| Contact us]
Copyright PatentAuction.com 2004-2017
Page created at 2025-11-05 20:56:10, Patent Auction Time.