Home
List your patent
My account
Help
Support us
Automated Cleaning System
[Category : - Automotive Accessories - RENEWABLE ENERGY]
[Viewed 1169 times]
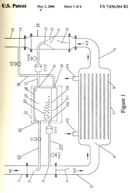
A cleaning system for cleaning tubing using cleaning balls circulated with the fluid through the tubing. The system includes a separator having a perforated funnel, which permits the fluid, but not the cleaning balls, to pass through.
We can solve: energy efficiency, maintenance cost savings.
We can solve 2 mainstreams:
(1) Tangible benefits: Cost savings, energy savings, equipment life span longer.
(2) Intangible benefits: Increase productivities, less maintenance.
Compared to existing technologies:
1. No pump
2. No compressor
3. No Discharging water
4. Did not insert medium along the tube
5. No cause obstruction of flow
6. Duo cycle (cold water & warm water will not be mixed)
7. Sponge ball is a cleaning medium will not mixing
Financial informationall the buildings and residential development will need our products.
Target market: Architects, M&E Consultants, Designers, Property Developers.
Asking price:
Above 1 million USD



[ Home
| List a patent
| Manage your account
| F.A.Q.|Terms of use
| Contact us]
Copyright PatentAuction.com 2004-2017
Page created at 2025-12-13 19:04:41, Patent Auction Time.