Home
List your patent
My account
Help
Support us
Moteur en deux temps avec une technologie de quatre temps
[Category : - Motors]
[Viewed 842 times]
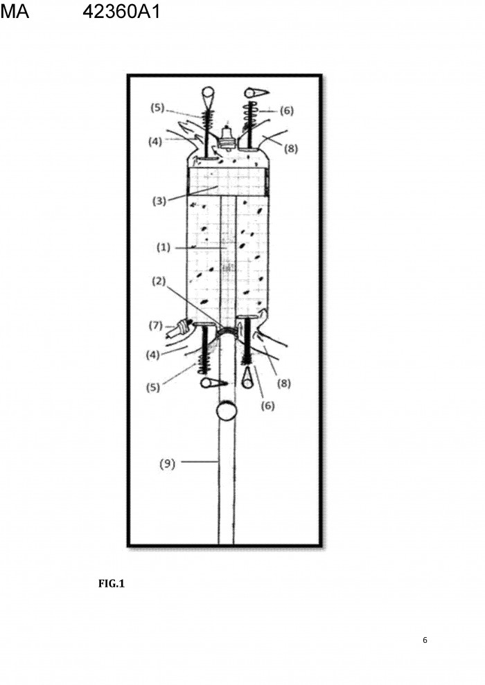
Ce nouveau moteur est caractérisé par une technologie par deux fois plus puissant que l'ancien moteur par ce que le piston contient deux surfaces ce qui permet une deux explosions, l'une au-dessous et l'autre au-dessus du piston, mais l'ancien moteur contient seulement une seule explosion au-dessus du piston.
Asking price:
Make an offer





[ Home
| List a patent
| Manage your account
| F.A.Q.|Terms of use
| Contact us]
Copyright PatentAuction.com 2004-2017
Page created at 2025-11-03 20:51:09, Patent Auction Time.