Home
List your patent
My account
Help
Support us
INJECTION AND MIXING OF CHEMICALS INTO A FLUID DELIVERY SYSTEM
[Category : - MECHANICAL ENGINEERING- Construction Processes & Equipment- Agriculture]
[Viewed 532 times]
In general, if there is a process where you'd like to or need to inject a liquid into another liquid, that process could benefit from this invention. This invention utilizes a venturi injection of a liquid and follows with static mixing of the 2+ fluids to create a homogenous mixture as it exits. This application can be useful in water treatment, fertilizer injection, food production, sterilization, almost anywhere you mix two fluids together and want to create a homogenous mixture. The invention describes a fertilizer injection system, but really the utility patent could apply to any application of the process of injecting one fluid into the stream of another. Doesn't require anything but hydraulics to operate. I had an alternate design but was only able to use this configuration for the patent application. I developed this system working in the water utility industry and used it to chlorinate water lines. This system uses the existing water pressure to create a vacuum through a venturi, which then pulls the liquid chemical into a bypass line and reintroduces the chemical into the mainline of flow. After which a static mixing device is installed. The main flow of liquid (usually water) and the added chemical is then mixed through turbulent action of the static mixer. It is common thought and practice in the industry that mixing just naturally happens when two liquids of different densities are introduced. That is actually often not the case. Liquids of different densities travel through the pipe line at different rates and tend to remain segregated. Resulting in incomplete action of the intended mixture. In the case of shock chlorination, the pipeline will not receive the full contact of disinfectant on the pipe surface. The result is the highly chlorinated solution gets pulled through the middle of the flow, where the velocity is the fastest and doesn't make contact with the pipe surface.
Same can be true for other applications. In fertilizer injection, without mixing, the fertilizer concentrate will get pulled through the pipeline and create uneven coverage or application rate. Some areas will receive more fertilizer concentrate than others.
Any application where a homogeneous mixture is desired might be able to be improved with this process, eliminating the need for electrical components, and more complicated delivery systems. Ideally on a commercial irrigation application this could be a simple unit to install, and servicing would be highly cost effective. Imagine having a lawn service company like true green, except the labor time and knowledge/training required would be significantly reduced and only require a technician the time it takes to fill a small holding tank with fertilizer. Business opportunities abound.
Since this is a utility patent, as long as the injection and mixing functions are included in design and build, the patent should protect alterations to specifics.
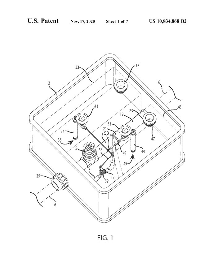
A fluid mixing and delivery system, e.g., for use in chemical injection of irrigation systems or wash-down stations, has a main fluid conduit with an inlet and an outlet, a bypass conduit with an inlet and an outlet, a venturi, a chemical storage tank, and a static mixer. The bypass conduit inlet connects to the main fluid conduit downstream of the main fluid conduit inlet and the bypass section outlet connects to the main fluid conduit upstream of the main fluid conduit outlet. The venturi is located in-line with the bypass conduit between the bypass conduit inlet and the bypass conduit outlet. The chemical storage tank is fluidly connected to an individual supply line, which fluidly connects to the venturi. The static mixer is located in-line with the main fluid conduit between the bypass conduit outlet and the main fluid conduit outlet.
Financial informationhave you been watching the news on the hurricanes? All of the flooding has caused massive contamination of drinking water lines. After hurricanes gastrointestinal illnesses spike! You know why? because sewage and storm water enters into the public drinking water from water main breaks when roads wash out, line breaks from mudslides or tornadoes, all of the fun stuff that comes from those disasters. So think about how they will they make the lines safe to serve drinking water again? They need to be disinfected with high concentrations of chlorinated water. This device can inject a slurry of highly chlorinated water into a flow and disinfect pipelines throughout the those effected cities. Once the chlorine has contacted the surface for enough time, the chlorine can be dechlorinated using the same device. Water flushed through, and now the water is safe to drink again. Im telling yall, the possibilities of this are endless. More than a 1 trick pony.
According to Grandview Research, The U.S. water and wastewater treatment equipment market generated a revenue of USD 7.1 billion in 2023 and is expected to reach USD 8.6 billion by 2030.
According to Statista, The global fertilizer market amounted to more than 193 billion U.S. dollars in 2021, an increase of roughly 12 percent in comparison with the previous year. It is forecast that the fertilizer market will surpass 240 billion U.S. dollars by 2030.
Get a piece of that pie, not to mention any other industry that could utilize the function of this design for their processes. Potential is huge and functionality and application crosses numerous markets.
Asking price:
Make an offer

[ Home
| List a patent
| Manage your account
| F.A.Q.|Terms of use
| Contact us]
Copyright PatentAuction.com 2004-2017
Page created at 2025-10-16 10:24:08, Patent Auction Time.