Home
List your patent
My account
Help
Support us
Road Surface Friction Vehicle Braking System for Improved Braking
[Category : - MECHANICAL ENGINEERING- Automotive Accessories ]
[Viewed 1293 times]
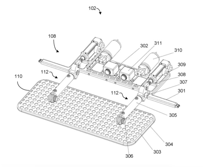
The road surface friction vehicle braking system is a device that slows vehicles more quickly when braking than traditional vehicle brakes. The device is a vehicle emergency braking device attached under a vehicle, and when deployed, it rapidly slows a vehicle by creating friction with the surface of the road. The device has a flat rubber pad that is mechanically lowered to press against the surface of the road, where the device starts horizontally aligned with the rubber pad raised, then when activated, actuators rapidly lower the rubber pad to the surface of the road. The device rapidly deploys in less than half a second and does not damage the road due to its rubber bottom. The device may deploy either by an acceleration measurement of the brake pedal or when the brake pedal is fully extended, then the device retracts after use for reuse. During normal driving, the retracted device maintains a low profile, so it is not viewable under the vehicle. The device has a braking surface area that is more than three times larger then that of the four tires combined, thus vehicles using the device have approximately three times greater stopping power than vehicles without the device, reducing the vehicle’s stopping distance by approximately three times. The device has the potential to reduce vehicle collisions and the severity of vehicle collisions, where a collision may be entirely avoided by braking, or the severity of a collision may be less from collision at a reduced speed from braking, reducing injuries and fatalities.
The global annual market size for vehicle brakes is $49.2 billion. Since the device stops vehicles more quickly than traditional vehicle brakes, the device should be a needed addition to every vehicle. As drivers are safety conscious, there should be a high demand for the device.
The patent family for sale or licensing includes 5 granted U.S. patents (BRAKING SYSTEM, United States of America, 11,053,994, 11,598,383, 11,802,599, Expiration Date 2039, 11,220,245, 12,415,484, Expiration Date 2037), and a pending U.S. divisional patent application. This patent family’s granted U.S. patents are strong and provide comprehensive protection of this technology and variations of this technology. An infringing product has been identified for a patent within this patent family. Claim mapping on the infringing product is available for review on request.
This technology was developed by and is owned by Duplicent, LLC (duplicent.com). Duplicent, LLC is a patent monetization entity, diversified company, and research and development company that owns 25 granted U.S. patents and more than 270 distinct technologies.
The sale price for this patent family is a price above $545,000. The licensing terms for this patent family are $100,000 paid upfront and a 3% royalty on this technology’s revenue, where the license could be exclusive with sales minimums (to be negotiated).
Asking price:
Make an offer


[ Home
| List a patent
| Manage your account
| F.A.Q.|Terms of use
| Contact us]
Copyright PatentAuction.com 2004-2017
Page created at 2025-12-13 23:30:03, Patent Auction Time.