Home
List your patent
My account
Help
Support us
Ultrasonic wireless power transmission system.
[Category : - Indentification and payment methods]
[Viewed 225 times]
[Power Transmission System and Method of Power Recharge via Short-Range Ultrasonic Radio.]
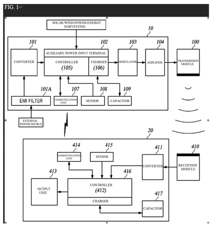
Disclosed is an ultrasonic short-range wireless power transmission system comprising: an ultrasonic transmission transducer configured to transmit power, wherein the ultrasonic transmission transducer comprises: a converter configured to convert power received from an external power source; a controller configured to control power of a modulator and power of an amplifier; a communication unit configured to communicate with an external reception transducer; a sensor configured to sense ultrasonic waves transferred from an ultrasonic wave emission region; the modulator electrically connected to the controller and configured to generate a signal for ultrasonic short-range wireless power transmission; and the amplifier configured to amplify a modulation signal generated by the modulator and convert the modulation signal into power; and one or more transmission modules configured to receive the power from the amplifier and convert an electrical reception signal into ultrasonic waves.
Financial informationPatent Title: SYSTEM FOR TRANSMITTING ULTRASONIC SHORT-RANGE WIRELESS POWER AND METHOD OF CHARGING ULTRASONIC WIRELESS POWER.
US Patent: US000010250077B2 / US201700201130A1 / US201900157911A1
This patent describes a system for transmitting short-range wireless power and, after receiving the power, determining subscriber information and calculating power usage to pay for it.
Market Potential: The three patents granted in the US describe technologies applicable to smartphones, electric vehicles, power generation facilities, public spaces, airplanes, data centers, and AI power grids.
Terms of Sale: Exclusive license and 100% assignment of patent rights.
This patent is currently available and is a system patent required for data center operation.
Paypal : [Use the button below to contact me] (Park Seonghoon)
Asking price:
Make an offer





[ Home
| List a patent
| Manage your account
| F.A.Q.|Terms of use
| Contact us]
Copyright PatentAuction.com 2004-2017
Page created at 2025-12-26 12:46:11, Patent Auction Time.