Home
List your patent
My account
Help
Support us
Finish material interface flange
[Category : - Construction Processes & Equipment- ELECTRICITY & LIGHTING- Telecommunications]
[Viewed 57 times]
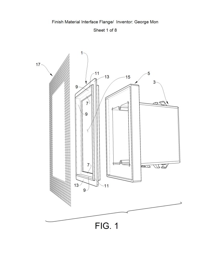
The Finish Material Interface Flange provides an interface between specific electrical boxes and adjacent building assembly finish materials. The Finish Material Interface Flange preferred embodiment cooperates with the Flush Wallplate Electrical Box of parent application 17/723,176 serving to frame an electrical wallplate such that the wallplate finished face is essentially co-planar to the surrounding wall assembly finish material finished surface, referred to as a flush wallplate installation. The Finish Material Interface Flange also serves to facilitate a consistent termination of wall assembly materials at the periphery of the electrical box while reducing labor required to do so. The form of the Interface Flange provides the desired flush wallplate installation with minimum variability.
Financial informationWorks with the Flush Wallplate Electrical Box of Utility Patent US11424604 to provide a modernist outlet installation while facilitating air sealing at the installation.
Please see website
Link for installation demonstration.
Asking price:
Make an offer

[ Home
| List a patent
| Manage your account
| F.A.Q.|Terms of use
| Contact us]
Copyright PatentAuction.com 2004-2017
Page created at 2025-11-30 14:09:13, Patent Auction Time.