Home
List your patent
My account
Help
Support us
An extinguishing device and an extinguishing method
[Category : - Life-saving; Fire-fighting]
[Viewed 38 times]
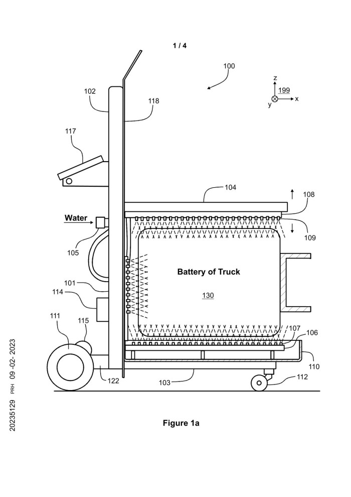
The invention relates generally to extinguishing technology. More particularly, the invention relates to an extinguishing device that can be used for extinguishing e.g. a fire in a battery of an electric or hybrid truck.
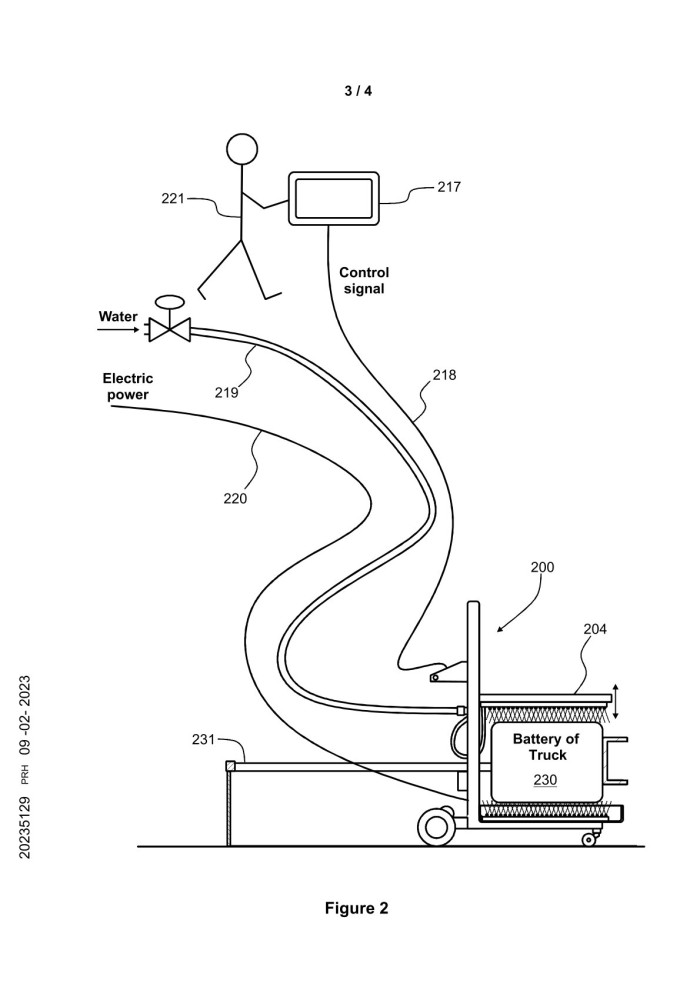
An extinguishing device comprises a body structure (101) having a vertical part (102) and a horizontal part (103), and a movable part (104) moveably supported to the vertical part to be above the horizontal part. The movable part is linearly moveable in a vertical direction to vary a distance between the movable part and the horizontal part so that an object in fire is between the movable part and the horizontal part. The extinguishing device comprises a hose connection (105) for receiving firefighting water from an external hose. The extinguishing device comprises first pipes (106) connected to the hose connection, attached to the horizontal part of the body structure, and provided with first nozzles (107) configured to spray the firefighting water upwards, and second pipes (108) connected to the hose connection, attached to the movable part, and provided with second nozzles (109) configured to spray the firefighting water downwards.
In addition to Finland, the patent has been granted in Germany, France and United Kingdom.
For more information, please see the Finnish Patent and Registration Office's patent information service:
LinkFinancial informationSale
Asking price:
Make an offer




[ Home
| List a patent
| Manage your account
| F.A.Q.|Terms of use
| Contact us]
Copyright PatentAuction.com 2004-2017
Page created at 2025-11-30 23:57:28, Patent Auction Time.