Home
List your patent
My account
Help
Support us
Remotely activated masthead sheave lubricator apparatus and method
[Category : - Boating]
[Viewed 23 times]
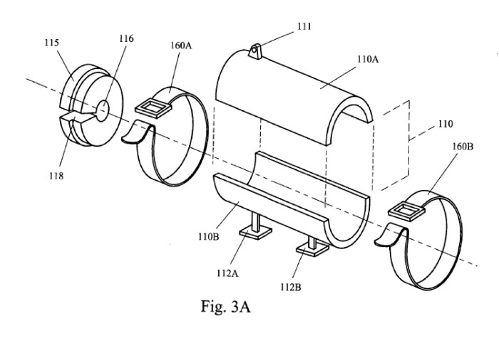
The apparatus and method of the present invention provide a crewmember with the ability to lubricate the sheaves at the head of a mast of a contemporary sailing vessel from the deck. A cylinder that may be secured to existing halyards is filled with a lubrication fluid. The cylinder is raised in the usual manner and, once at the top of the mast, a plunger deploys the lubricant through a bifurcated stem to each side of the sheave.
Say goodbye to risky mast climbs and hello to worry-free sail operation! Our Remote Masthead Lubricator lets you effortlessly lubricate your sheaves from the comfort of the deck, extending their lifespan and preventing unexpected breakdowns. No more scrambling up the mast or hiring someone else to do it – take control and sail with confidence!
Financial informationSay goodbye to risky mast climbs and hello to worry-free sail operation! Our Remote Masthead Lubricator lets you effortlessly lubricate your sheaves from the comfort of the deck, extending their lifespan and preventing unexpected breakdowns. No more scrambling up the mast or hiring someone else to do it – take control and sail with confidence!
Asking price:
Make an offer





[ Home
| List a patent
| Manage your account
| F.A.Q.|Terms of use
| Contact us]
Copyright PatentAuction.com 2004-2017
Page created at 2025-11-30 23:59:37, Patent Auction Time.