 
		
			Home     
			List your patent     
			My account     
			Help     
			Support us      
		
VARIABLE COMPRESSION RATIO MECHANISM FOR AN INTERNAL COMBUST
[Category : - Motors]
[Viewed 3585 times]
	VARIABLE COMPRESSION RATIO MECHANISM FOR AN INTERNAL COMBUSTION ENGINE
Simple solution for improving an internal combustion engine based on US patent 7,631,620 B2  by Victor Chepettchouk
Introduction
This invention relates to the mechanism for changing the compression ratio of internal combustion engine, and transferring rotational force from adjustable crankshaft to the engine power output shaft. 
Variable Compression Ratio (VCR) mechanism can improve engine flexibility, economy, performance, and allow use of different fuel types. 
Main problems of the existing VCR mechanism are complexity of design, manufacturing and installation.
Objective
An objective of the present invention is to provide an improved mechanism for controlling the internal combustion engine compression ratio, which will be easy to manufacture and install.
This patent proposes a design that can be implemented on existing engines with minimal modifications.
Description of Invention
The configuration of existing engines will be maintained and the cylinder head, camshaft, pistons, and piston rods will not require any changes. No changes will need to be made to exiting mechanical interfaces. 
What will be required are changes to the crankshaft bearings, and a mechanical control mechanism will need to be installed.
The control shaft is installed in the engine housing and is parallel to the crankshaft.
Control shaft pinion elements mesh with control ring toothed elements, which rotates the control ring, resulting in changing the position of the crankshaft relative to the cylinder head. This will change the engine compression ratio.
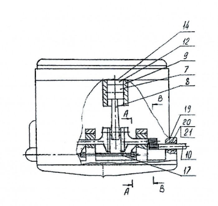
Diagrams
Picture 1: Schematic view of VCR mechanism
Picture 2: Sectional end view of an internal combustion engine with regard to this invention
Picture 3: Sectional A-A view of “Figure 2” presenting control ring adjustment
Pictures 4&5:
Figure 4: Sectional B-B view of “Figure 2” presenting crankshaft and engine power shaft permanent meshing.
Figure 5: An alternative construction of crankshaft to engine output power shaft permanent meshing.
Picture 6: Sectional C-C view of Figure 5.
 
Contact info:
Victor Chepettchouk
Phone: 289-809-1275
e-mail: [Use the button below to contact me]
Financial informationEasy to manufacture
	
	Asking price:
Make an offer
 





[ Home
| List a patent
| Manage your account
| F.A.Q.|Terms of use
| Contact us]
Copyright PatentAuction.com 2004-2017
Page created at 2025-11-01 0:06:53,  Patent Auction Time.