Home
List your patent
My account
Help
Support us
DISPOSITIVO ASCIUGATORE ELETTRICO A GETTO D'ARIA MULTIFUNZIONE
[Category : - ELECTRONICS- Fitness- Bathroom]
[Viewed 3345 times]
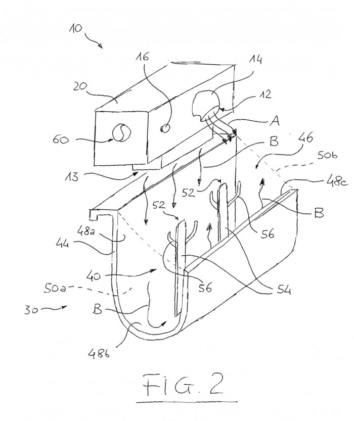
Si tratta di un asciugatore elettrico multi-funzione oggetto dell'invenzione è atto a diffondere due getti d'aria, rispettivamente un flusso d' aria concentrato in una prima direzione, per l'asciugatura delle mani, ed una cortina d'aria in una seconda direzione, per l'asciugatura di calzature aperte. In sintesi, la presente invenzione si fonda sul principio di funzionamento di un tradizionale dispositivo asciugamni elettrico a getto d'aria, applicando detto principio all'asciugatura supplementare di calzature. Ciò può essere ottenuto modificando la configurazione di un tradizionale dispositivo asciugamani elettrico così da poter disporre di una duplice diffusione dell'aria calda, differente a seconda della funzionalità richiesta al dispositivo. l' idea mi è nata in palestra, finita la mia attività fisica mi preparavo per far la doccia , apro il borsone per prendere le mie ciabatte e come al solito me le ero dimenticate nella busta di plastica bagnate, aperta la busta ne usciva il classico odore di umido puzzolente, e da qui l'idea! perchè non esiste un'asciugatore per ciabatte?, finisco di farmi la doccia mi rivesto asciugo ! le mie ciabatte e le infilo tranquillamente nel borsone pronte per il prossimo utilizzo, se esiste lo strizza costume secondo me assolutamente inutile perchè non un asciugatore con inclusa la funzione asciuga ciabatte utilizzabile in tantissimi luoghi ; esempio : palestre , centri benessere, alberghi , piscine private e comunali, nella mia bella villa con piscina ect... Nella palestra per non aver più ciabatte bagnate e puzzolenti dentro buste di plastica Nei centri benessere : ho finito il mio bagno turco o sauna o bagno in piscina e devo andare a pranzare o farmi il sonnellino, prima di entrare in qualsiasi sala asciugo le mie ciabattine e non bagnerò altri pavimenti(meno lavoro per chi pulisce),negli alberghi idem Nelle piscine quanti ragazzi torneranno a casa con le ciabatte asciutte in maniera da non dare più lavoro alle mammine di mettere ad asciugare anche le ciabatte invece una volta già asciutte la mammina dovrà solamente metterle nel suo portascarpe. Nella mia bella villa con piscina ,casualmente si sono bagnate le ciabatte devo rientrare in casa perchè ho dimenticato il cellulare , tac le asciugo ed entro senza sporcare il pavimento. Questa è la mia umile idea spero vi possa interessare e piacere perchè ho intenzione ovviamente di vendere il brevetto, se siete interessati e volete contattarmi il mio numero di telefono è 333/1751826.
Cordiali saluti
Financial information
Voglio vendere il brevetto oppure lasciare licenza con royalties
l'invenzione non è stata precedentemente venduta
potenziale cliente : campi da calcio, palestre , centri benessere, hotel, piscine ect...
Patent publications:No publication
Asking price:
Above 1 million USD


[ Home
| List a patent
| Manage your account
| F.A.Q.|Terms of use
| Contact us]
Copyright PatentAuction.com 2004-2017
Page created at 2025-11-05 16:50:51, Patent Auction Time.