PatentAuction.com lists patented inventions available for sale or licensing. Inventors can list their patented inventions (or patent pending) for sale. New inventions for sale are added on a daily basis !
Home    List your patent    My account     Help     Support us    

Listings by 'burkejeff'


Disposable Male incontinence Device (1539 views)
Asking price:Make an offer

Picture for patent availablePicture for patent available
Disposable Sanitary Pad specifically for male incontinence (1552 views)
Asking price:Make an offer

Picture for patent availablePicture for patent available
Railroad crossing assembly -can replace existing crossing arms (1701 views)
Asking price:Make an offer

Picture for patent availablePicture for patent availablePicture for patent availablePicture for patent availablePicture for patent availablePicture for patent available
Retractable gate for Railroad crossings (1768 views)
Asking price:Make an offer

Picture for patent availablePicture for patent availablePicture for patent availablePicture for patent available
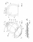
Sanitary Pads for Male incontinence (1766 views)
Asking price:Make an offer

Picture for patent availablePicture for patent availablePicture for patent availablePicture for patent availablePicture for patent available









[ Home | List a patent | Manage your account | F.A.Q.|Terms of use | Contact us]

Copyright PatentAuction.com 2004-2017
Page created at 2025-11-03 20:07:55, Patent Auction Time.